Da Vinci Prior Authorization Support (PAS) FHIR IG, published by HL7 International / Financial Management. This guide is not an authorized publication; it is the continuous build for version 2.2.0 built by the FHIR (HL7® FHIR® Standard) CI Build. This version is based on the current content of https://github.com/HL7/davinci-pas/ and changes regularly. See the Directory of published versions
| Page standards status: Trial-use |
ainfo-1^payer_exchange:Payers SHOULD attempt to use the initial DTR invocation to gather all relevant information relevant to the prior authorization request and only use the "additional information" approach when human review or other circumstances not known at the time of the initial DTR call require additional information to be collected. §1
A payer MAY request additional information from the provider to support a prior authorization request by responding to the X12 278 Request with an X12 278 Response §ainfo-2. That response can include any of the following:
When a single LOINC code is used, the TRN at the X12 278 header or line level associated with the 102089-0 LOINC code SHALL be the DTR context ID used to retrieve the appropriate questionnaire. §ainfo-3
There are two ways of sending attachments depending on whether it is unsolicited or solicited. The following diagram shows the flow:
Here is a high-level diagram that shows how the $submit-attachment call is used:

Figure 3.2 - High Level submit-attachment Use</figcaption> </figure>
The PAS task profile SHALL be used to convey PAS X12 278 Response information to CDex. §ainfo-4
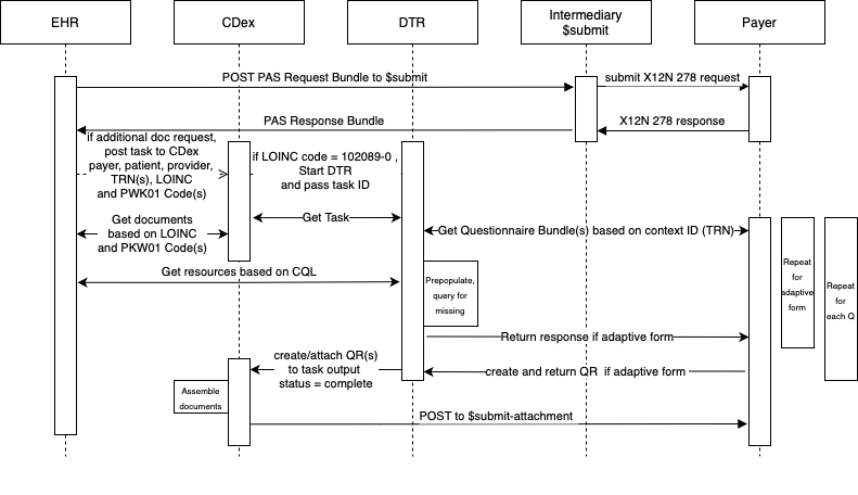
All of the additional information request codes SHOULD be used as input to a CDex task. §ainfo-5 The CDex task will include all of the information required to enable CDex to assemble the required documentation and send it to the payer’s operation endpoint for attachments. When the LOINC code 102089-0 is present, the associated TRNs SHALL also be exchange as Task.input. §ainfo-6 The following diagram defines the PAS, CDex, DTR workflow. A separate task SHALL be created for each of the above attachment request types (PWK01, LOINC, questionnaire). §ainfo-7
Although CDex defines a set of operations, it can be implemented in a separate module. The Task is used to represent the information that is needed to make the CDex calls. If the CDex calls are not in a separate module, then the Task may just be conceptual and not actually created. In PAS, the Task is created by the Provider but that the remaining CDex workflow remains the same.
PAS uses the Task based profile to request additional documentation (“attachments”) for prior authorizations. It constrains the Task resource to minimal necessary data elements needed to request specific attachments and provides the information necessary to respond via the $submit-attachment operation. This response is compatible with existing 278 response transactions to allow reassociation of the requested documents (using LOINC codes and/or PWK01 codes) and/or questionnaireResponse(s). The following Task profile supports all of the elements necessary to exchange a request for additional documentation between the PAS 278 response and CDex. For guidance when the provider is not able to complete the Task, refer to the When The Task Cannot Be Completed CDex section . Note: since task.code is cardinality 0..1, a Task will need to be created for each of the values (if required). One for code(s) and another for questionnaire(s).
A Task.code of either “attachment-request-code” or “attachment-request-questionnaire” is communicating that the Payer is requesting attachments for a prior authorization using a code or data request questionnaire:
The Task.requester.identifier and Task.owner.reference represents the Payer ID The Task.for references the Patient information. The Task.reasonReference references the Prior Authorization request.
The Task.input provides for the following information:
Both the 'attachmentsNeeded' and 'questionnairesNeeded' slice contains an extension point to the prior authorization line number.
| PAS Task Profile Element | PAS Claim Response Element |
|---|---|
| identifier | ClaimResponse.identifier[0] |
| reasonCode | Fixed to 'priorAuthorization' |
| requestor.identifier | ClaimResponse.insurer.identifier[0] |
| reasonReference | ClaimResponse.request |
| input "paLineNumber" extension | CommunicationRequest.payload "serviceLineNumber" extension |
| input "AttachmentsNeeded" slice value | CommunicationRequest.payload.contentString |
| input "AttachmentsNeeded" slice "contentModifier" extension | CommunicationRequest.payload "contentModifier" extension |
| input "QuestionnaireContext" slice value | Claim.item "itemTraceNumber" extension |